Language
  • English
  • 繁體中文
  • 简体中文
0
询问车列表

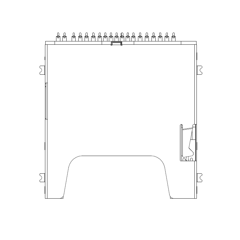
7SD40-FA-0000

型号:SD4.0 Top, Push/Push Type,H 3.00mm

产品说明

SD4.0 Top, Push/Push Type,H 3.00mm

档案下载
7SD40-FA-0000 档案下载

产品询问