Language
  • English
  • 繁體中文
  • 简体中文
0
詢問車列表

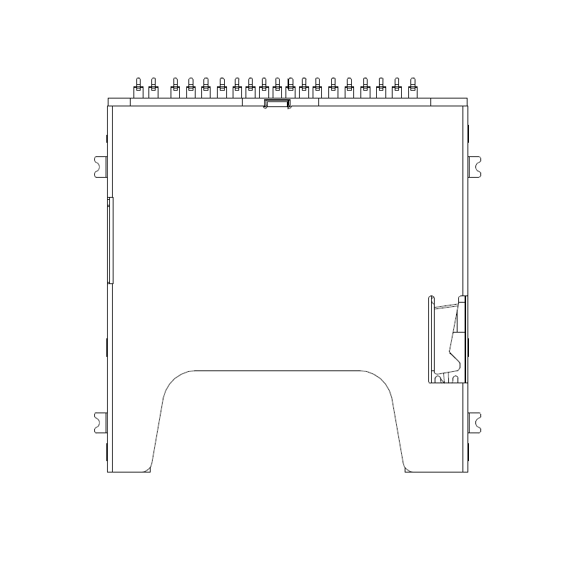
7SD40-FA-0000

型號:SD4.0 Top, Push/Push Type,H 3.00mm

產品說明

SD4.0 Top, Push/Push Type,H 3.00mm

檔案下載
7SD40-FA-0000 檔案下載

產品詢問

本公司核心理念是有三大方向:提升專業力、服務客戶群、創造最大價值,在公司成立於2002年起,我們就不斷深耕領域已有半世紀,從小規模的產業道拓展全世界的大企業,這一路風雨走來遇到不少困難,但有了客戶良好的口碑跟努力不懈的團隊,造就成如今本公司的最大成就。在未來道路上,也期待您與我們合作,共同創新新未來!